مصنف:سائٹ ایڈیٹر اشاعت کا وقت: 2026-04-23 اصل:سائٹ
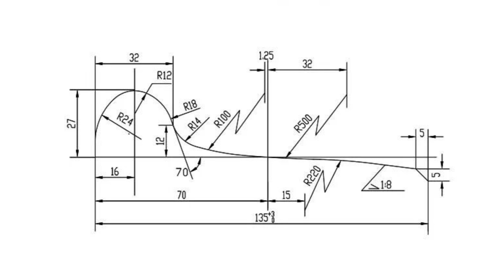
ریلوے وہیل کے فلینج اور ٹریڈ پروفائل کا ڈیزائن محفوظ اور موثر ٹرین آپریشن کو یقینی بنانے میں اہم کردار ادا کرتا ہے۔ اچھی طرح سے مماثل پہیے – ریل کے رابطے کی جیومیٹری نہ صرف پہننے اور تناؤ کو کم کرتی ہے بلکہ مجموعی طور پر چلنے کے استحکام اور منحنی مذاکرات کی کارکردگی کو بھی بہتر بناتی ہے۔
وہیل ٹریڈ پروفائل ڈیزائن کرتے وقت، ریل کے سر کی شکل کے ساتھ مناسب مطابقت کو یقینی بنانا ضروری ہے۔ ایک مثالی وہیل-ریل انٹرفیس مؤثر طریقے سے رابطے کے تناؤ کو کم کر سکتا ہے اور لباس کو کم سے کم کر سکتا ہے، جو براہ راست معاونت کرتا ہے:
· منحنی خطوط سے گزرتے وقت بہتر کارکردگی
· بحالی کی فریکوئنسی اور لاگت میں کمی
· ٹرین کے استحکام کے لیے اہم رفتار میں اضافہ
اس کے علاوہ، نئے ڈیزائن کردہ ٹریڈ پروفائل کو حقیقی آپریٹنگ حالات میں پہنے ہوئے پروفائل سے ملنا چاہیے۔ یہ ری پروفائلنگ کے دوران دھات کو ہٹانے کی مقدار کو کم کرنے میں مدد کرتا ہے، اس طرح وہیل سروس کی زندگی کو بڑھاتا ہے اور دیکھ بھال کے اخراجات کو کم کرتا ہے۔

فلینج ایک اہم حفاظتی خصوصیت ہے جو پٹڑی سے اترنے سے روکتی ہے۔ اس کی اونچائی اور جیومیٹری کو احتیاط سے کنٹرول کیا جانا چاہیے:
· فلینج کی اونچائی: عام طور پر 26 ملی میٹر اور 30 ملی میٹر کے درمیان ہوتی ہے
· بہت کم: پٹری سے اترنے کے خطرے کو بڑھاتا ہے
· بہت زیادہ: ریل کے اجزاء جیسے فش پلیٹ بولٹ یا کندھوں میں مداخلت کا سبب بن سکتا ہے، خاص طور پر جب چلتے ہوئے پہننا اہم ہو۔
ٹرن آؤٹ کے ذریعے محفوظ گزرنے کے لیے، چھوٹے پہیے کے قطر کو عام طور پر زیادہ فلینج کی اونچائی کی ضرورت ہوتی ہے۔
فلانج زاویہ بھی اہم ہے۔ فلینج کی بیرونی سطح کو افقی جہاز کے ساتھ مناسب زاویہ برقرار رکھنا چاہیے:
· زاویہ بہت چھوٹا: وہیل چڑھنے کا زیادہ خطرہ (کم رفتار پر پٹری سے اترنا)
· زاویہ بہت بڑا: ری پروفائلنگ کے دوران مشینی ہٹانے میں اضافہ ہوتا ہے اور حملے کے زاویہ کے حالات میں فلینج ٹاپ اور ریل کے درمیان رابطے کا سبب بن سکتا ہے۔

ٹریڈ پروفائل کا تعین بنیادی طور پر پہیے کے ساختی ڈیزائن کے بجائے ٹریک کنڈیشنز اور ٹرین آپریٹنگ اسپیڈ سے ہوتا ہے۔ جب ٹریک انفراسٹرکچر یا آپریٹنگ اسپیڈ میں کوئی خاص تبدیلیاں نہیں ہوتی ہیں، تو ٹریڈ پروفائل عام طور پر غیر تبدیل شدہ رہتا ہے- چاہے وہیل کے ڈھانچے میں ترمیم کی گئی ہو۔
زیادہ تر معاملات میں، ریلوے سسٹم میں مطابقت اور بھروسے کو یقینی بنانے کے لیے معیاری ٹریڈ پروفائلز کو اپنایا جاتا ہے۔
ریلوے وہیل فلینج اور ٹریڈ پروفائل ڈیزائن ٹرین کی حفاظت اور کارکردگی کا ایک اہم پہلو ہے۔ وہیل-ریل کے تعامل کو بہتر بنانے، فلینج کے طول و عرض کو کنٹرول کرنے، اور حقیقی آپریٹنگ حالات کے ساتھ چلنے کے ڈیزائن کو سیدھ میں لا کر، ریلوے آپریٹرز آپریشنل کارکردگی کو نمایاں طور پر بڑھا سکتے ہیں، لباس کو کم کر سکتے ہیں، اور مجموعی حفاظت کو بہتر بنا سکتے ہیں۔